产品分类
 业务联系
 人才招聘
 客服电话
 在线联系
   首页 - 产品展厅 - 产品介绍  
  产品名称: 低温截止阀
  产品型号: DJ41Y
  低温截止阀价格
  咨询电话:021-34141228 黄 工
 相关产品
 低温截止阀
 

一、产品[低温截止阀]的详细资料:

产品名称:低温截止(节流)阀

产品特点:国标低温截止阀,国标低温节流阀,低温截止阀

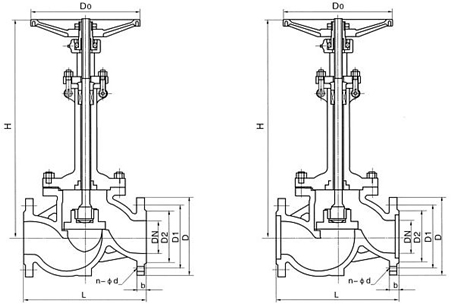
尺寸图

二、执行标准:

设计与制造

结构长度

浩兰尺寸

压力-温度

试验-检验

JB/T7749

GB12221

JB79

GB9131

JB/T9092

三、压力试验:

公称压力PN

1.6

2.5

4.0

强度试验

2.4

3.8

6.0

水密封试验

1.8

2.8

4.4

上密封试验

1.8

2.8

4.4

气密封试验

0.4-0.7

四、主要零件材料及性能:

体盖板

阀杆

密封面

垫片

埴料

工作温度℃

适用介质

LCB

1Cr17Ni12

DTL/DTL

1Cr13/柔性石墨低温石棉

PTFE
浸四氟乙
烯石棉绳
柔性石墨

-46

丙烷/丙烯
甲醇,乙烷
煤气/液氨

LC1

-60

LC2

-73

LC3

1Cr18Ni9Ti

-101

LC4

-115

LC8

-196

五、国标低温截止阀(节流)阀 PNl.6MPa一4.0MPa 规格主要尺寸:

1.6MPa

DN

L

D

D1

D2

b

n-Φd

H

D0

-46℃

4-101℃

-196℃

凸面法兰
RF
DJ41Y-16L
DJ41Y-16L C1
DJ41Y-16L C2 DJ41Y-16L C3
DJ41Y-16L C4 DJ41Y-16P
DJ41Y-16R

50

230

160

125

100

16

4-Φ18

460

480

520

240

65

290

180

145

120

18

4-Φ18

475

505

525

280

80

310

195

160

135

20

8-Φ18

520

550

590

280

100

350

215

180

155

20

8-Φ18

545

575

615

320

125

400

245

210

185

22

8-Φ18

590

620

660

360

150

480

280

240

210

24

8-Φ23

650

680

730

400

200

600

335

295

265

26

12-Φ23

850

880

930

400

250

730

405

355

320

30

12-Φ25

956

986

1036

450

300

850

460

410

375

30

12-Φ25

1095

1125

1175

500

2.5MPa

50

230

160

125

100

20

4-Φ18

460

460

520

240

凸面法兰
RF
DJ41Y-25L
DJ41Y-25L C1
DJ41Y-25L C2 DJ41Y-25L C3
DJ41Y-25L C4 DJ41Y-25P
DJ41Y-25R

65

290

180

145

120

22

8-Φ18

475

505

525

280

80

310

195

160

135

22

8-Φ18

520

550

590

280

100

350

230

190

160

24

8-Φ23

545

575

615

320

125

400

270

220

188

28

8-Φ25

590

620

660

360

150

480

300

250

218

30

8-Φ25

650

680

730

400

200

600

360

310

278

34

12-Φ25

850

880

930

400

250

730

425

370

332

36

12-Φ30

956

986

1036

450

300

850

485

430

390

40

16-Φ30

1095

1125

1175

500

4.0MPa

50

230

160

125

100

20

4-Φ18

483

504

546

240

凸面法兰
RF
DJ41Y-40L
DJ41Y-40L C1
DJ41Y-40L C2 DJ41Y-40L C3
DJ41Y-40L C4 DJ41Y-40P
DJ41Y-40R

65

290

180

145

120

22

8-Φ18

499

530

551

280

80

310

195

160

135

22

8-Φ18

546

578

620

280

100

350

230

190

160

24

8-Φ23

572

604

646

320

125

400

270

220

188

28

8-Φ25

620

651

693

360

150

480

330

2850

218

30

8-Φ25

683

741

767

400

200

600

375

320

282

38

12-Φ30

893

924

977

400

250

730

445

385

345

42

12-Φ34

1004

1035

1088

450

300

850

510

450

408

46

16-Φ34

1150

1181

1234

500

友情连接: 阀门 | 球阀 | 百度 | 中国控制阀网 | 进口阀门 |

版权所有 上海科谋阀门有限公司 地址:上海市金山区枫泾工业区电话:021-34141228 传真:021-34141228
邮箱:kemo88@163.com 备案编号:沪ICP备11021114号